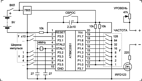
Данный генератор позволяет формировать импульсы шириной от 0.1 до 0.8 мс и от 1 до 8 мс с частотой от 1 до 256 Гц. Амплитуда импульса и ток определяются параметрами ключевого транзистора. В данной схеме применен IRFD123, максимальный возможный ток ограничивается резистором 220 Ом, который при напряжении питания 9В и коротком замыкании составит не более 40 мА. Ширина импульса и частота задаются переключателями в двоичном виде, установки загружаются во время сброса и дальнейшее изменение переключателей на параметры сигнала не влияют.
Недостаток данной схемы: в случае неработоспособности контроллера или во время сброса транзистор все время открыт, поэтому изменение параметров импульсов рекомендуется производить не сбросом, а выключением-включением питания контроллера.
В схеме использован контроллер AT89C2051, но можно применить и любой другой x51 контроллер. Задержки и частоты соблюдаются для кварца 24 МГц. Возможно применение кварца 12 МГц, но тогда длительности импульса и периода увеличиваются вдвое (соответственно вдвое уменьшается частота).
Частота следования импульсов задается переключателями на порту P1. Отключенный переключатель соответствует "1", включенный - "0". Значение 0 соответствует 1 Гц, 255 - 256 Гц. Двоичное значение можно найти либо преобразованием десятичного значения в двоичное калькулятором, который это позволяет, либо сложить значения для включенных разрядов:
| Разряд | Значение |
|---|---|
| 7 | 128 |
| 6 | 64 |
| 5 | 32 |
| 4 | 16 |
| 3 | 8 |
| 2 | 4 |
| 1 | 2 |
| 0 | 1 |
Например, для частоты 70 Гц нужно выставить значение 69: 69 = 64 + 4 + 1, значит, нужно установить единицу на разрядах 6 (26 = 64), 2 (22 = 4) и 0 (20 = 1).
Ширина импульса устанавливается аналогично на разрядах 2-4 порта P3 от 0 до 7, что соответствует ширине от 1 до 8 мс или от 0.1 до 0.8 мс в зависимости от разряда 0 порта P3 (1 или 0 соответственно - "х10").

Подобные проекты: http://www.ullasmann.eu/